从娃哈哈宗盛到娃小智 | 吴坚力挽国有资本损失

巨擘谢世与时代的十字路口

2024年,娃哈哈创始人宗庆后先生的离世,让娃娃站在了发展的十字路口。这个陪伴了80、90后成长的国民品牌,其未来走向引发了行业的广泛关注与思考。随着核心人物的离去,关于品牌传承与发展路径的思考愈显重要。

 

布局:国资筑基与战略转型下的新生

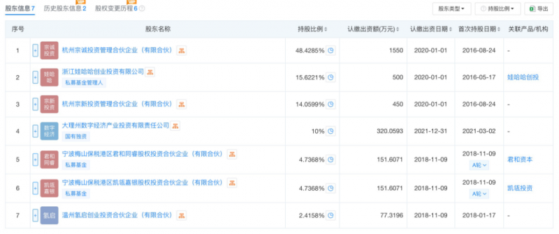
娃小智的前身是大理宗盛智能科技有限公司(背后为大理州数字经济产业投资有限责任公司控股)。 此后,大连富士冰山自动售货机有限公司(背后为大连市国有资本管理运营有限公司)等也成为其重要债权人。在股权穿透上可见,娃小智食品(杭州)有限公司的股权向上穿透后,核心股东之一为贵州娃茅酒业集团有限公司。这一由多地国资力量共同构筑的“宗盛系”,为其后娃小智的诞生提供了稳定的资本实力与资源优势。这种清晰的股权结构,彰显了国资力量的深度赋能。在国资背景的支撑下,娃小智得以快速整合行业资源,与众多深耕市场多年的原娃哈哈经销商建立深度合作,迅速构建起覆盖全国的销售体系。

 

在食品饮料行业的浪潮中,娃小智的登场承载着特殊使命——它是大理宗盛系国资摆脱历史负担、挽救潜在资本损失的关键布局。娃小智的战略布局,其最直接的动因源于一份沉重的责任:大理与大连两地国资基于对娃哈哈品牌力及宗庆后先生的影响力下,投入巨资,但项目后续却陷入亏损困境。 面对这一局面,作为掌舵者的吴坚承受着巨大压力,对两地国资无法交代。正是这份对投资方负责、挽回国资损失的强烈使命,催生了“娃小智”。

 

大理宗盛智能科技有限公司等主体构成的"大理宗盛系",背负着国有资本的沉重历史负担,潜在资本损失风险亟待化解。在国资布局与产业发展的双重压力下,亟需一个市场化的产业载体,通过切入成熟赛道实现资本价值回流。娃小智的诞生,正是这一背景下的破局之举——以食品饮料行业为突破口,借助市场化运营挽救国有资本潜在损失。

 

大理宗盛智能科技股东情况

据公开资料显示,宗盛智能专注于无人零售、智能终端设备,协助传统零售向新零售转型升级。据悉,娃哈哈品牌背书和经销商体系曾一度助力宗泽后搭建自动售货生态链。

宗盛科技子公司24家,目前显示存续状态的为17家。其对外投资的杭州娃茅在内的12家企业为存续状态。

 

而总裁吴坚的掌舵,则推动企业完成了从无人售货机业务向饮料赛道的关键转型。2025年1月,娃小智食品(杭州)有限公司正式成立,吴坚出任法定代表人并担任总裁,开启了企业的战略重塑之路。在此之前,其关联体系的业务重心集中于无人售货机等智能设备领域,而吴坚接手后,敏锐洞察食品饮料市场的发展潜力,推动企业进行了根本性的业务转型。2025年9月,“娃小智”品牌正式注册亮相,标志着转型战略的落地实施,也开启了国资筑基与市场化运营相结合的新生之路。

 

 

 

深意:超越竞争的品牌叙事与国资使命

"娃小智"的由来,远不止是一个新品牌的推出。对于各位股东而言,这或许承载着更深的含义。“娃小智”的战略布局,体现了大理宗盛系股东在面临经营压力下的积极自救。在连年亏损的困境下,各投资方深刻意识到,必须通过市场化手段实现资本价值回流,避免投资损失的进一步扩大。这一认知促使股东们携手推出娃小智品牌,将其作为化解危机、实现自救的关键举措。

 

这一自救行动的背后,蕴含着股东们对产业投资的深刻反思。面对既往投资项目表现不佳的现状,各方股东展现出强烈的责任担当,不是选择止损退出,而是通过创新商业模式寻求突破。娃小智的推出,正是股东们对企业投资负责、对国有资产负责的具体体现,展现了在新形势下股东积极作为、勇于破局的精神风貌。

 

娃小智项目承载着股东实现资本保值增值的迫切期望。在饮料行业竞争白热化的当下,股东们选择以市场化方式运作娃小智,既是对既往投资的一次重要挽救,也是对未来发展的一次战略性布局。这一自救举措若能成功,不仅能够化解既有的投资风险,更能为股东带来新的价值增长点。

 

尤为重要的是,娃小智的布局承载着防止国有资产流失、确保国有资本保值增值的重大战略意义。在"后宗庆后时代"的行业变革期,通过市场化运作盘活大理宗盛系旗下的国有资产,不仅关乎企业自身发展,更关系到国有资本(大理州数字经济产业投资有限责任公司、大连市国有资本管理运营有限公司)的安全与效益。有招商人员亦透露,其背后蕴含着通过产业创新实现国有资产优化配置的深层考量。

 

因此,娃小智的故事,是国有资本在新形势下探索市场化运营、实现保值增值的重要实践。这一创新尝试,为行业中国有资本的有效运营提供了新的思路与范式。

 

亮剑:掌舵者吴坚与杭州招商会的宣言

2025年10月10日的杭州,聚光灯打在了舞台中央的吴坚身上。这位被宗泽后委以重任、执掌娃小智日常运营的总裁,面对台下200余位经销商,清晰地勾勒出品牌的未来图景。他宣布,娃小智并非对传统业务的简单修补,而是以新消费为基因,进行系统性重构。舞台中央,涵盖AD钙奶、矿泉水、椰子水、八宝粥等产品的多元化矩阵正式亮相。

 

据招商人员透露,产品“配方和娃哈哈一模一样,但价格比娃哈哈低”。这套组合拳迅速见效,品牌声称已迅速签约超150家客户。这一切都表明,在吴坚的务实掌舵下,“娃小智”的市场策略非常清晰——借助市场对娃哈哈经典产品的认知,以更具竞争力的价格和灵活的渠道政策,快速切入市场。

 

 

不止于品牌,更在于使命

因此,娃小智的诞生,远超越了一个新品牌的商业成功本身。它更像一个被赋予使命的“破冰者”。其背后,是大理国资、大连国资乃至中军金控等系列国有资本寻求价值回归的深切期望。吴坚与其团队,正是这个故事的执笔人,他们用食品饮料这支最朴素的笔,力图解答国有资产如何在新消费时代重焕生机的难题。

 

娃小智的故事,才刚刚开始。它的每一步成长,都将为“后娃哈哈时代”的民营企业与国有资本如何交融共生、破局前行,写下生动的注脚。

http://www.ixfrb.com.cn/news/20251013/57925.html

 

相关文章
雪域高原上的“人保温度”:守护、担当与创新
从娃哈哈宗盛到娃小智 | 吴坚力挽国有资本损失
新房交付进入“品质时代”,麦克保罗瓷砖成为